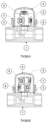
Bẫy hơi nhiệt tĩnh Adca Model TH36 :
- Model: TH36
 
- Vật liệu: Thép Carbon
- Kích thước: DN40 – DN50
- Kết nối: Ren/ Bích/ Hàn
 
- Áp suất tối đa: PN40
- Nhiệt độ tối đa: 250ºC
Tư vấn sản phẩm/hỗ trợ kỹ thuật
Email: contact@eco-genergy.com
Hotline: 0901 19 06 08
Xem thêm: Các loại bẫy hơi tại Ecozen
Lọc chữ T Adca Model IS140T :
 
		
				
 
		
				
Bẫy hơi Phao Adca Model FLT17LC:
 
		
				Van hơi chữ ngã Adca Model VF20:
 
		
				
 
		
				Trạm bơm thu hồi nước ngưng Adca Model POP-S :
 
		
				
 
		
				
Đồng hồ áp suất màng nối bích New Flow Model DT122:
 
		
				Đồng hồ đo áp suất điện tử Nuova Fima Model SDM18 :
 
		
				Bộ trộn Hơi Nước Adca Model MX20 :
 
		
				
 
		
				You can see how this popup was set up in our step-by-step guide: https://wppopupmaker.com/guides/auto-opening-announcement-popups/
You can see how this popup was set up in our step-by-step guide: https://wppopupmaker.com/guides/auto-opening-announcement-popups/
You can see how this popup was set up in our step-by-step guide: https://wppopupmaker.com/guides/auto-opening-announcement-popups/






